¡¾®aÆ·ÓÃ;¡¿
XD371XÐÅÌ–µûéyßmÓÃÓÚÏû·Àϵ½yÖпØÖÆéyéT£¬ÒªÇó³£é_µÄˆöºÏ£¬®”éyéTé_»òêPµ½Ö¸¶¨Î»ÖÕr£¬éyéTÉϵÄÐÅÌ–ÑbÖñã¿É°l³öÐÅÌ–ËÍÖÁÏû·À™zœyÖÐÐÄ¿ÉÒÔï@ʾ³öµûéyé_†¢»òêPé]£¬ÒÔ·ÀÖ¹éyéTÕ`êPé]¶øÓ°í‘×Ô„Ó‡ŠË®œç»ð¹¦ÄÜ¡£
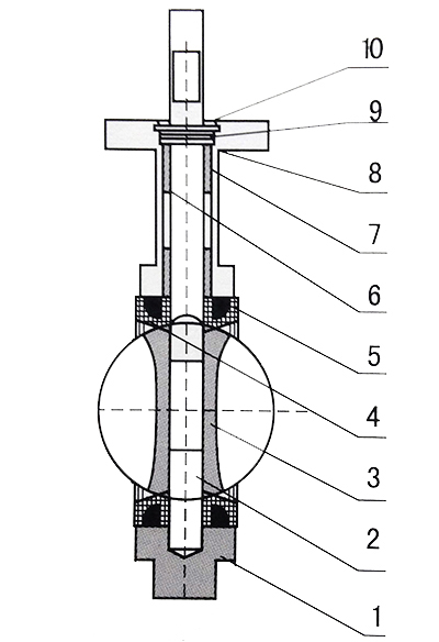
¡¾½Y˜‹Ê¾ÒâˆD¡¿

ˆDÖИË×¢”µ×Öעጣº1±íʾéyów£¬2±íʾéyÝS£¬3±íʾµû°å£¬4±íʾéy×ù£¬5±íʾÌîÁÏ£¬6±íʾÒrÌ×£¬7±íʾÃÜ·âȦ£¬8±íʾˆA‰|Ƭ£¬9±íʾŒ¦é_h£¬10±íʾ“õȦ¡£
¡¾ÐÔÄÜ…¢”µ¡¿
| ÐÅÌ–µûéyÐÍÌ– | XD371X-10 | XD371X-16 |
| ¹¤×÷‰ºÁ¦(MPa) | 1.0 | 1.6 |
| ßmÓÜضÈ(¡æ) | ¡Ü65¡æ |
| ßmÓýéÙ| | Ë®µÈ |
| ²ÄÁÏ | éyów | èTèF |
| µû°å | ÇòÄ«èTèF(±íÃæÄáýˆ¸²ŒÓ) |
| éy—U | ãt²»äPä“ |
| éy×ù | ¶¡ÇçÏðÄz |
| ÌîÁÏ | OÐÎÏðÄzȦ |
¡¾ÍâÐκÍßB½Ó³ß´ç¡¿
| XD371X-10ÐÅÌ–µûéy |
| ͨ½£¨mm£© | L | D | K | n-§¶d | H | H1 | W | W1 |
| 50 | 43 | 165 | 125 | 4-§¶18 | 80 | 320 | 266 | 90 |
| 65 | 46 | 185 | 145 | 4-§¶18 | 89 | 330 | 266 | 90 |
| 80 | 46 | 200 | 160 | 8-§¶18 | 95 | 340 | 266 | 90 |
| 100 | 52 | 220 | 180 | 8-§¶18 | 114 | 360 | 266 | 90 |
| 125 | 56 | 250 | 210 | 8-§¶18 | 127 | 380 | 266 | 90 |
| 150 | 56 | 285 | 240 | 8-§¶22 | 139 | 390 | 266 | 90 |
| 200 | 60 | 340 | 295 | 8-§¶22 | 175 | 525 | 125 | 90 |
| 250 | 68 | 395 | 350 | 12-§¶22 | 203 | 555 | 125 | 90 |
| 300 | 78 | 445 | 400 | 12-§¶22 | 243 | 610 | 190 | 90 |
•Ã÷£º±¾ÎÄÖÐËùÓÐÎÄ×Ö¡¢”µ“þ¡¢ˆDƬ¾ùÖ»ßmÓÃÓÚ…¢¿¼£¬ÐÔÄÜ…¢”µ¡¢½Y˜‹³ß´ç…¢”µ¡¢xd371xÐÅÌ–µûéyƒr¸ñµÈÔ”Ç飬Ո“ϵÎÒ‚ƒ£¬ëŠÔ’£º021-59170722!